热烈祝贺,由我们汇得医疗CRO辅导合作的客户深圳市怡然智能有限公司自主研发的【低频治疗仪】产品成功获批广东省药品监督管理局第二类医疗器械产品注册证,意味着该产品可以在国内医疗器械市场开启合法生产与销售服务!



产品回顾
深圳市怡然智能有限公司是一家主要从事医疗器械、保健食品、美容美体仪器、电子仪器等大健康产品研发、生产、销售、服务的综合性企业。产品因其良好的性能和安全、有效性在医疗领域得到广泛应用。
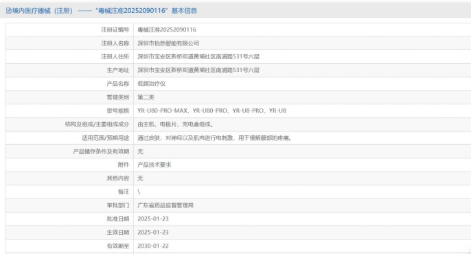
本次获证产品:低频治疗仪
产品分类依据:为09物理治疗器械-01电疗设备/器具-03低中频治疗设备
产品结构组成:由主机、电极片、充电盒组成。
产品适用范围/预期用途:通过皮肤,对神经以及肌肉进行电刺激,用于缓解腰部的疼痛。
产品特点:具有兴奋运动神经和感觉神经、止痛、改善血液循环、调节植物神经功能,对运动神经系统损伤功能重建最为重要。低频电流对局部肌肉、神经、血管的刺激,促进血液循环,使局部组织供血、供氧增加。低频电流刺激穴位和痛点时,可产生震颤感和肌肉颤动,粗纤维兴奋,使传导痛觉的闸门关闭,痛阀提高,以及内源性吗啡样物质释放起到止痛作用。偏瘫和脑外伤病人,经反复的低频电刺激,能解除肌痉挛,并在大脑皮层中重新建立神经网络,使已丧失的功能重建,恢复瘫痪肢体的运动功能。
治疗原理:将物理因子作用在人体各部位的经络和穴位进行物理治疗,从而提高临床效果。它具有自动变频的脉冲电压,能够穿透组织深处进行浅部和深部病灶的治疗。具有疏通经络,活血化瘀、止痛、舒筋,调五脏六腑,平衡阴阳的作用。可以调节神经的兴奋性和抑制性,激活病灶周围组织的细胞活性,增强局部血液循环和新陈代谢能力,提高免疫力,调节内分泌;对病灶周围组织有修复和治疗的作用。
获证企业产品的生产能力和技术条件经过国家药品监督管理局严格审查,这不仅是市场对该器械的合法性,更是对产品安全性和有效性的充分肯定,也标志着该产品成功拿到了医疗器械国内市场的“准入证”,为其进一步打开国内市场奠定了基础,同时,伴随着国产医疗器械的全球化,双方将进一步合作对接全球化产品注册进程。


低频治疗仪注册流程介绍
一、低频治疗仪注册流程
1.前期准备:包括厂房选择、车间和厂房规划设计、装修、工艺布局、设备选型与配置和产品研发定型、等准备工作。
2.建立医疗器械质量管理体系:组织架构策划、主要岗位人员规划、培训、制定并实施符合医疗器械质量管理要求的体系,确保产品的质量和安全性。
3.注册检测:进行相关的注册检测,包括产品的物理性能、生物相容性、电磁兼容性等方面的检测。
4.临床评价:进行同品种比对的临床评价,与已上市的同类产品进行实质等同比对,论证产品的安全性和有效性。
5.注册申请:向药监部门提交注册申请材料,包括技术文件、检测报告、临床评价报告等。
6.技术审评:由相关药监部门进行技术审评,审核产品的技术文件和申请材料。
7.医疗器械注册质量管理体系核查:审核企业的医疗器械质量管理体系是否符合要求。
8.技术审评发补项&体系考核不符合项整改:根据技术审评结果,对发布项进行整改,并对体系考核不符合项进行整改。
9.产品注册行政许可:获得行政许可,取得医疗器械产品注册证。
10.医疗器械生产许可证办理:申请医疗器械生产许可证,并获得许可证。
二、低频治疗仪注册时间
低频治疗仪的注册时间包括产品研发定型时间、医疗器械注册检验时间、医疗器械注册审评时间和医疗器械生产许可证办理时间。通常情况下,从提交申请开始,全程注册时间预计约为5-10个月(不同省市申报注册时间有差异)。
三、低频治疗仪注册费用
低频治疗仪作为第二类医疗器械注册产品,注册费用主要包括三个部分:企业产品研发、制造及质量保证能力建设的费用;产品注册检验和医疗器械注册审评的官方收费;第三方医疗器械注册咨询公司的服务费;以及同品种比对临床评价的费用。除了企业自身的研发和能力建设费用外,其他费用大约在15-30万元(不同省份收费可能存在差异)。
四、关于低频治疗仪注册产品临床评价的建议
对于低频治疗仪的注册产品临床评价,建议采用同品种比对的方式。同品种比对是通过与已上市、已获得医疗器械注册证并销售的同类产品进行实质等同比对,来论证产品的安全性和有效性。根据国家药监局发布的《医疗器械分类目录》子目录09“物理治疗器械”相关产品临床评价推荐路径,低频治疗仪的临床评价可以采用同品种比对的路径。
目前,已经有多个低频电疗仪产品取得了医疗器械注册证。建议在进行临床评价时,查询已经取得注册证的低频电疗仪产品,以进行同品种比对。据查询,截至2024年12月,已经有103个低频电疗仪或治疗仪类产品取得了注册证。


项目回顾
本次获证的顺利执行,离不开企业和汇得医疗项目服务团队的精诚合作,彼此信任,充分体现了汇得医疗管家式·陪伴式全方位服务的优势。同时也要感谢审评老师严谨的审评技术服务工作,以及高效的审评速度和专业的技术审评指导沟通,为医疗器械企业合规市场准入助力护航,为企业产品快速进入市场迈出了夯实的步伐。
本次辅导客户委托的整个项目过程中,汇得医疗全程参与并辅导企业从产品选品指导、厂房布局规划和设计、施工过程技术支持、产品设计开发指导、检验检测机构筛选、机构对接和检测跟踪、产品临床评价、临床数据、临床文献技术支持、产品技术指标深入分析、产品关联的法规和标准培训、质量体系策划、搭建、体系运行和体系考核陪审、产品注册资料撰写指导、注册申报递交、审评专家技术沟通、产品注册发补资料梳理、技术再审评沟通直至获得注册证为止。通过汇得医疗的专业和技术、临床、体系和法规注册团队化的项目高效服务流程,大大提高项目实施效率、通过精准获证的注册路径和技术沟通策略规划及客户的完整技术对接配合,针对产品可用性分析、产品技术要求、临床评价策略、风险管理等核心安全、有效的产品技术专题,充分识别要求、提前预判与过程企业、检测、临床和审评的多方有效沟通,直接高效地给出注册认证技术解决方案,最终助力企业成功迈出了敲开项目得以顺利的提交、审核、发补、获得产品注册证证书的该产品医疗器械市场准入大门的坚实一步。


汇得医疗
汇得医疗CRO专注于为医疗器械产业企业提供端到端、点对点的一站式·全方位医工转化与全球注册技术服务。
汇得医疗的服务包括不限于:产品注册批文转让、科技成果和医工转化、产品注册前可研报告、可用性评价、产品选品、创新器械申报、 注册人&备案人CDO、CDMO、全球注册(NMPA、CE-MDR、CE-IVDR、FDA、MDL、UKCA、TGA、ANVISA、INMETRO、PMDA、KFDA)、CRO临床评价(豁免、对比、试验、文献、数据、CER)、厂房选址&设计规划、施工&监理&维保、设备选型&配置、专业人员委培&引荐、质量体系(ISO、GMP、QSR820、CMDCAS、MDSAP、BGMP、KGMP)建立、企业常年顾问、企业合规咨询、检验检测代理、产品改进、医学翻译、器械UDI、生产GMP&经营GSP软件、PMS系统、CDMO注册人ERP系统、委托灭菌验证、产业招商、委托营销(CSO)、医保收费编码申请、财税与投融资(CIFO)、第三方外包审核、企业管理孵化等医疗器械全产业链供需解决方案服务。
汇得医疗本着“立足湾区,服务中国、目标全球,打造智慧型、一站式医疗产业链服务”的企业愿景,致力于肩负为企业提供全生命周期保驾护航使命。我们与科研、医生、认证、检测、临床、协会及各监管部门建立有效沟通,拥有强大的资源互动脉络。我们与行业超过1500+企业签订常年合规顾问和管理外包服务,累计服务超过2000个品种(覆盖血透、AI智能、呼吸、生殖、麻醉、康复、眼科、输注护理、中医、口腔、骨科、妇科、医美、软件和IVD等)获得超过5000张全球认证证书,行业超过5000家企业选择并认可了我们的一站式医疗技术服务。

